How to change a belt, the right way, in under a
minute . . .
without a knife or a naughty word. This might be old hat to some,
but I have helped many along the trail that did not know the
simple technique.
Please don't mind the illistrations. They
will in time be replaced with pictures.
The magic in this technique lies in how
the secondary clutch works. Under a high torque load( like starting
from a dead stop or going up a hill), the sheaves of the clutch
spread to permit the belt to slide down and reduce the effective
gear ratio of the clutch system.
This is acomplished by a series of ramps
and springs. The spring pushes the sheaves of the clutch together,
the pull of the belt spreads them. The balance, hopefully, sets
the right gear ratio for the load.
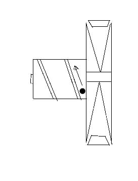
As the engine pulls the belt down in the
sheaves, the left sheave rotates backwards and out, as guided
by the ramps. |
 |
The result is a
spread sheave, and the easy way to change the belt.
 By grabbing the left
sheave, and rotating it backwards at the same time you
push it open, you can open the clutch wide.
As you hold it open, the spread clutch gives you extra slack,
and you can just peel the belt right off (left picture).
So, here it is again. Grab the
inside sheave, and rotate it backwards at the same time you push
it open.
This gives you plenty of slack to just peel the belt right off.
Using this simple technique, you can change
a belt in under 20 or 30 seconds, no cussing, no knife. Once
you get it, it really is quite simple. |